GT氣動執行器是常用的一種氣動執行器,在氣動執行器市場,氣動執行器占有量應該大于80%,氣動執行器特點是價格便宜,體積小,重量輕,市場保有量大,動作靈活。只要氣源即可實現閥門的開啟和關閉,安全可靠。
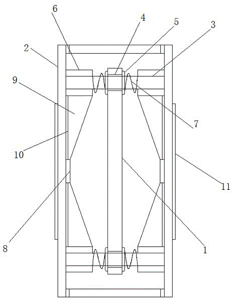
圖中:1主板、2殼體、3導向桿、4套環、5擋片、6限位塊、7緩沖彈簧、8導熱板、9支撐板、10導熱條、11散熱翅片。

氣動執行器的結構組成圖
下面將結合本實用新型實施例中的氣動執行器的結構組成圖,對本實用新型實施例中的GT氣動執行器圖解、完整地描述,顯然,所描述的實施例僅僅是本實用新型一部分實施例,而不是全部的實施例。
參照GT氣動執行器的結構組成圖,包括主板1以及包裹主板1的殼體2,殼體2的內部固定連接有與主板1四角活動套接的導向桿3,導向桿3的內圈滑動套接有與主板1固定套接的套環4,套環4伸出主板1的兩端外圈固定套接有與主板1固定連接的圓環形結構的擋片5,兩組擋片5相互遠離的一側安裝有與導向桿3固定套接的限位塊6,限位塊6與擋片5之間安裝有與導向桿3活動套接的緩沖彈簧7,主板1的兩側安裝有位于殼體2內側壁上的導熱板8,導熱板8的一側設置有與限位塊6固定連接的支撐板9,支撐板9的一側設置有與殼體2內側壁固定連接的導熱條10,殼體2的兩側外側壁安裝有與導熱板8連接的散熱翅片11。
殼體2的兩端均開設有貫穿殼體2的通道,通道的開口處固定套接有濾網,殼體2的兩側固定連接有安裝耳,安裝耳上開設有安裝孔,支撐板9為三角形結構,且支撐板9與殼體2內側壁固定連接,殼體2的兩側開設有與導熱板8固定套接的通孔,導熱板8伸出通孔的一端與散熱翅片11固定連接。
工作原理:利用螺釘使殼體2上的安裝耳與GT執行器進行固定,使用的時候利用限位塊6與擋片5之間的緩沖彈簧7緩沖外界對主板1的沖擊力,同時當外界擠壓殼體2的時候,支撐板9與殼體2以及限位塊6之間形成三角形結構的支撐結構,提高了殼體2對外界的擠壓力,從而確保殼體2內部的主板1安全,同時利用導熱條10、導熱板8和散熱翅片11,使得殼體2內部的主板1能夠將產生的熱量及時散發出去,該設計結構簡單,使得主板具有較強的抗壓能力,有效的緩解外界沖擊,方便主板進行散熱。
以上所述,僅為本實用新型較佳的具體實施方式,但本實用新型的保護范圍并不局限于此,任何熟悉本技術領域的技術人員在本實用新型揭露的技術范圍內,根據本實用新型的技術方案及其實用新型構思加以等同替換或改變,都應涵蓋在本實用新型的保護范圍之內。
